misha@motor-reduktor.com.ua
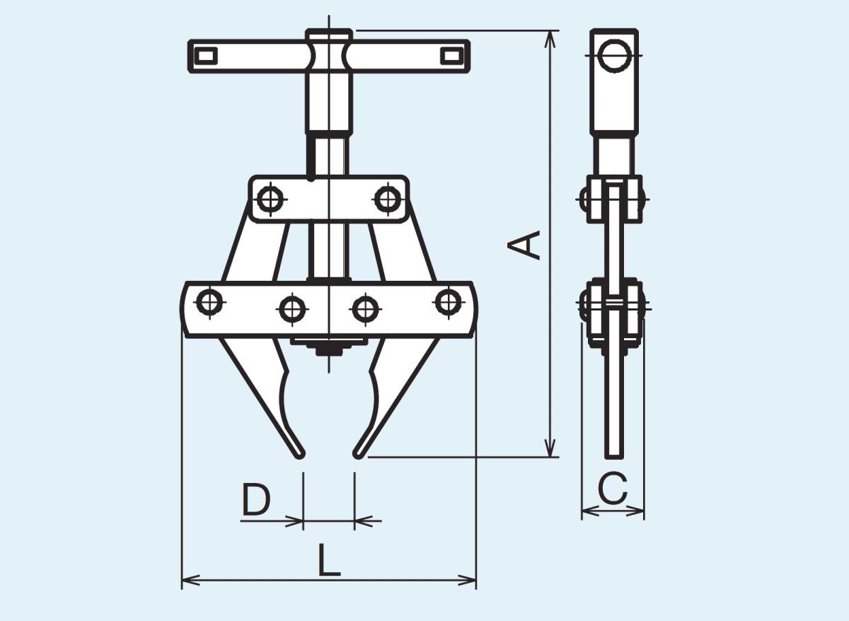
Найпоширенішим з інструментів для роботи з ланцюгами є так звана "вижимка" - з її допомогою можна розібрати ланцюг, для того, щоб отримати відрізок потрібної довжини.
Так як ланцюги бувають рідних розмірів, то і інструменти для їх розбирання бувають різні:
| типорозмір | діипазон крока ланцюга, мм | А, мм | L, мм |
| Chain detacher 25-60 (№1) | 6,35 - 19,05 | 80 | 150 |
| Chain detacher 60-100 (№2) | 19,05 - 31.75 | 100 | 200 |
| Chain detacher 120-160 (№3) | 38.1 - 50.8 |
Якщо ви купуєте ланцюги в нашої компанії - на нашому складі ви можете безкоштовно замовити виготовлення відрізка необхідної довжини.
Для складання ланцбгової передачі на механізмі існують натяжні пристрої. 
Маркування та основні характеристики монтажних натяжників для ланцюгів:
| маркування | діапазон ланцюгів | L | D |
| CPL35 | 35-60 | 70 | 7 - 45 |
| CPL 60 | 60-100 | 110 | 10 - 57 |
| CPL 80 | 80-240 | 145 | 23 - 135 |
Михайло Павінов
інженер
(098) 083-58-09
misha@motor-reduktor.com.ua

